日前,三星W25系列兩款新機在官網上架接受登記,發布時間和價格暫未公布。
分別來看,三星W25采用黑金配色,“心系天下”金色方印位于機身下方,搭配金屬高級磨砂質感鉸鏈蓋與類寶石紋理狀邊框,背板采用陶瓷材質,重255g。

新機在展開狀態下厚度為4.9mm,折疊狀態下厚度為10.6mm,配備6.5英寸外屏和8.0英寸內屏,峰值亮度均為2600尼特。
作為參考,此前發布的三星Galaxy Z Fold6折疊厚度為12.1mm,展開厚度為5.6mm,重量為239克。

其他配置方面,三星W25后置搭載2億主攝+1200萬超廣角+1000萬3倍長焦鏡頭,支持AI影像處理;搭載第三代驍龍 8 移動平臺(for Galaxy),提供 16GB+512GB/1TB 存儲空間,內置4400mAh(典型值)電池,支持IP48防塵防水。
AI方面,三星W25搭載全新Bixby助手,支持視頻文本內容呈現、基于多語言端側引擎的網頁翻譯、用戶復雜意圖理解、辦公文檔快速生成等功能。
此外,該機還支持即圈即搜、筆記助手、通話實時翻譯等功能。

而另一款小折疊新機——三星W25 Flip,背板采用陶瓷材質,搭配具有細膩磨砂觸感的“心系天下”徽標,金色裝甲鋁邊框搭配超閉合輕薄精工鉸鏈,同樣提供黑金配色。

三星W25 Flip配備6.7英寸內屏和3.4英寸外屏,提供“云扇雅韻”專屬動態壁紙,采用直覺化交互設計,提供便捷高效的應用訪問。
后置5000萬像素AI雙攝,內置超視覺引擎,支持多種風格拍攝、自動調焦等功能,可以對不同場景進行優化,成像更清晰。

該機搭載第三代驍龍8移動平臺(for Galaxy),內置4000mAh電池,支持IP48 防水性能,支持雙卡雙待。
AI方面,三星W25 Flip同樣搭載新一代 Bixby,支持上下文理解的多輪對話、設備功能指引、三星 App 個人信息智能聯動、屏幕信息智能提取等功能。此外,該機還提供聊天助手、同傳翻譯、通話實時翻譯、即圈即搜、轉錄助手等智能化功能。

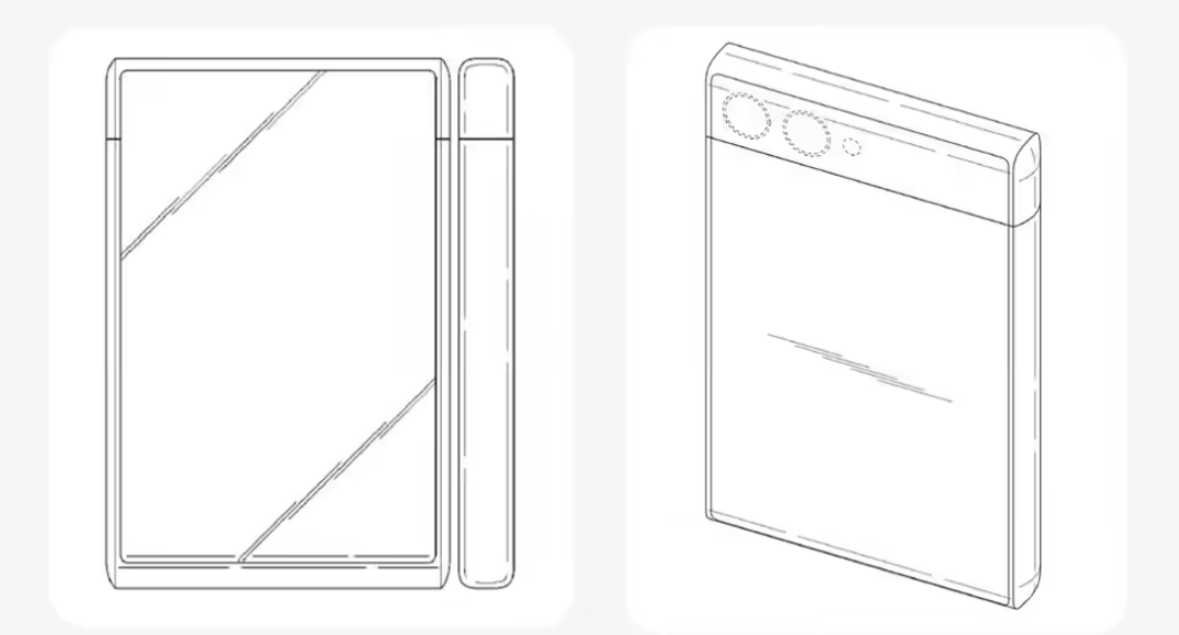
除了這兩款折疊手機,日前有消息源基于已公示的三星專利,渲染制作了三星三折疊手機和卷軸手機的外觀設計。
根據專利示意圖,三星的三折疊手機完全展開后,屏幕尺寸與平板尺寸接近,能夠帶來更多的可視空間。

在該三折疊設計中,包含后置攝像頭部分的單元明顯比另外兩個單元厚,基本上相當于另外兩個單元折疊后的厚度。
此外,專利中特別提及了獨特的鉸鏈設計,在折疊狀態下可以更加緊湊,而在展開狀態下可以提供足夠的支撐。

而三星卷軸手機在收起狀態下尺寸類似 Galaxy Z Flip,便于攜帶;展開狀態下屏幕可向上卷起,滿足用戶對大尺寸屏幕的需求。

也就是說,后續的三星多形態折疊屏新機有望實現便攜性與大尺寸屏幕共存。不過目前來看仍處于專利研發階段,距離真正發布還有較長的一段時間。